Apple đăng ký bằng sáng chế áp dụng trên Face ID và Touch ID, có thể bỏ đi tai thỏ
Gần đây, Apple đã nộp đơn đăng ký bảo hộ quyền sở hữu trí tuệ công nghệ phát hiện ánh sáng dưới màn hình cho hệ thống nhận dạng vân tay và khuôn mặt, sẽ được áp dụng trên các mẫu iPhone thế hệ mới.
Bước tiến mới cho Face ID, Touch ID trên iPhone
Theo thông tin từ WccFTech, Apple đã đăng ký bằng sáng chế công nghệ mới với tựa đề: “Hệ thống cảm biến phát hiện sự cố ánh sáng đối với lớp phát sáng của màn hình thiết bị điện tử”.
Theo đó, nó sẽ được hoạt động với hệ thống xác thực sinh trắc học Face ID và Touch ID trên điện thoại, có thể phát hiện ánh sáng qua màn hình.
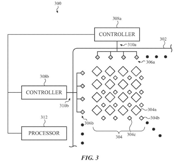
Bản mô tả công nghệ mà Apple đăng ký bằng sáng chế.
Động thái này tuy không được hãng tiết lộ gì thêm nhưng đối với riêng iFan thì đây có lẽ là tin vui rất đáng để mong đợi.
Có vẻ như sau một thời gian dài thiết kế tai thỏ vẫn được ưu ái duy trì nhiều năm qua, Apple đã bắt đầu tìm cách để thay đổi những phiên bản iPhone đời tiếp theo của mình sang một kiểu màn hình thu nhỏ bớt phần này, hoặc thậm chí là bỏ luôn.
Rất nhiều người dùng muốn bỏ đi tai thỏ.
Ngoài ra, nếu bằng sáng chế mới nhất này của Apple sớm được áp dụng thực tế thì những tin đồn về màn hình đục lỗ trên iPhone trước đó cũng không còn quá cần thiết nữa.
nguồn internet








