Rò rỉ thiết kế camera mới trên iPhone, hứa hẹn khả năng zoom không kém gì Galaxy S21 Ultra

Nguồn tin rò rỉ chỉ ra Apple kế hoạch Apple đang thực hiện để thiết kế camera tiềm vọng trên iPhone năm 2021, đem lại khả năng thu phóng tuyệt đỉnh.
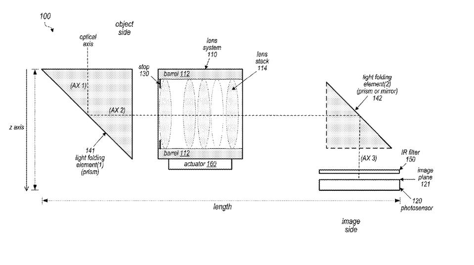
Apple luôn trang bị cụm camera đắt tiền trên những chiếc iPhone. Tuy nhiên iPhone hiện tại vẫn đang đi sau các flagship Android nếu xét về khả năng zoom. Bằng sáng chế mới của Apple đã chỉ ra chi tiết kế hoạch “đánh lại” các đối thủ Android với thiết kế ống kính tiềm vọng.
Các ống kính tiềm vọng được “nhét” vào smartphone với kích thước nhỏ và phải đánh đổi nhiều điểm mạnh về chất lượng ảnh. Sáng chế của Apple tập trung vào việc giảm đi những điều hy sinh bằng cách phối hợp nhiều ống kính, gương và lăng kính để thu được ảnh có độ phân giải cao, độ sáng tốt cùng khả năng ổn định quang học.

Apple đang hướng tới việc để cho camera tiềm vọng của mình có khẩu độ khoảng F2.8 đến F3.5 và zoom 4x đến 6x.
Ống kính tiềm vọng đã được đưa lên rất nhiều smartphone Android cao cấp, điển hình như chiếc Galaxy S21 Ultra và Galaxy Note 20 Ultra. Nếu công nghệ này được đem lại chiếc iPhone năm 2021 (có thể tên là iPhone 12S), cụm camera của iPhone sẽ gần như không kém gì các đối thủ của mình nữa.
nguồn internet




